產品介紹
Products
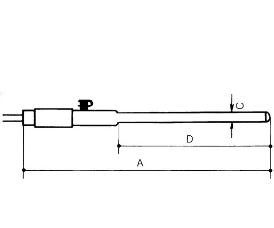
笠原理化工業 pH電極 PHD系列
類別:pH計/電導率計/ORP計

AS ONE pH計(桌上型)電極/電極

AS ONE pH計(桌上型)

AS ONE 筆式 ORP計ORP70

AS ONE 筆式 pH/ORP 計 GpH70

AS ONE 筆式 pH/電導度計 MPC70

AS ONE 筆式 平面型pH計 FpH70

AS ONE 筆式 穿刺式pH計 SpH70

AS ONE 筆式 電導度計 EC70

Hanna edge専用 pH複合電極

Hanna 桌上型 pH/EC/DO計

AS ONE AS ONE pH標準液

AS ONE pH比較電極內溶液 KCL3.33系列

AS ONE 桌上型 pH和電導計(PC2700) pH電極 玻璃 ECFG7370101B

AS ONE pH/電導度計(桌上型)AS830

AS ONE 防水型攜帶式 pH計 選購項目

DKK pH計 複合電極“Calmemo”

DKK-TOA 桌上型 pH計HM-42X

Eutech Lacombe Tester 手持式pH計

HANNA EDGE專用 pH複合電極

Horiba pH計/電導度計

Horiba 桌上型 pH/水質分析儀 F-2000PC系列

Horiba 桌上型 pH/水質分析儀 F-2000PI系列

Horiba 桌上型 pH計

Eutech Lacom 手持式測試儀 相關產品

Mettler-Toledo 攜帶式 pH計替換電極(Seven)系列

AS ONE pH電極保存液/電極內液 KCL系列

Thermo Scientific pH複合電極(STAR系列)

Thermo Scientific pH計 (STAR) 替換 pH電極

Thermo Scientific pH計(STARA系列)

Thermo Scientific 離子電極

HANNA pH計 0-13pH

Mettler-Toledo 攜帶式pH計 替換電極(Seven)系列

Mettler-Toledo pH計 標準液

AS ONE 多功能 pH計 392R

Custom pH計/電導度計

AS ONE 攜帶型 pH計 TPX-999i

東興化學研究院 攜帶式pH計 替換電極 PC系列

Mettler-Toledo 攜帶型 pH計 替換電極(Seven)系列

Mettler-Toledo 攜帶式 pH計(Seven)系列

Mettler-Toledo pH電極洗淨液

SATO pH計 填充電極 640S-1

SATO 手持式 pH計 pHP-31 替換電極

SATO 手持式 pH計 SK-620pHII

Yokogawa 防水型 pH計 pH系列

Yokogawa 防水型 pH計的替換電極

Greisinger pH計/電導度計

DKK-TOA 攜帶型多功能水質計MM系列

DKK-TOA 攜帶型 多用途水質計 MM-42DP/MM-41DP 新型數位電極

DKK-TOA 多功能水質計 MM4-pH 替換電極 ELP-072

DKK-TOA 多功能水質計 MM4-ORP 替換電極 ELM-027

LLG pH標準液 250mL

LLG pH標準液 1000mL

SATO pH計 溫度電極 640S-T

SATO pH計 標準液

Horiba 戶外型 多數位水質計 LAQUA WQ-300系列

AS ONE 數據記錄儀 pH 計 ORP ORP-14 替換電極

AS ONE 數據記錄儀 pH 計 pH PE-11 替換電極

Custom 多功能 pH 計 pH-02(主機)

Cµstom 多功能 pH計 替換電極、AC電源供應器

DKK-TOA 攜帶型 pH 計 Mylana HM-40P-pH

Mothertool pH計/電導度計

Mothertool 浸入式電極 PE-21

Mothertool 資料記錄器 pH 計

pH複合電極“Calmemo”用GST系列

Testo K. K. pH計 Testo 206-2(食品級)0563 2062

Horiba pH 標準液

EZDO 伸縮型測試筆 5000系列

EZDO 防水型測試筆 6000系列

DKK-TOA pH標準液 143F系列

AS ONE Twin pH計II LAQUAtwin(防水型)AS-pH系列

Horiba LAQUAtwin-pH系列 輕巧型 pH計

Horiba 輕巧型 離子計

AS ONE×Horiba 桌上型 pH水質分析儀

AS ONE 防水型攜帶式 電導度計替換電極

Horiba pH計 GRT複合電極

Horiba pH計 純水II pH電極 9600-10D

Horiba pH計 飲用水和低電導度樣品 pH電極 9630-10D

Horiba pH計 氫氟酸 pH電極 9631-10D

Horiba pH計 強鹼性 pH電極 9632-10D

Horiba pH計 微型Tou pH電極 9618N-10D

Horiba pH計 通用型套管電極 6367N-10D

Horiba pH計 超細試管 pH複合電極 6069N-10C

Custom 防水型pH計

OHAUS 攜帶式 多參數分析儀 ST400M系列

OHAUS 攜帶式pH計 ST系列

OHAUS 桌上型 多參數分析儀 a-AB33M1系列

OHAUS 攜帶式 溶氧度計 ST系列

OHAUS 桌上型 電導度計 a-AB33EC系列

OHAUS 桌上型 pH計 a-AB33PH系列

OHAUS 攜帶式 電導度計 ST300C系列

AS ONE 防水型 pH計 APH系列

OHAUS 筆型測試計 ST系列

Milwaukee pH測試計(防水型IP65/可替換電極)pH系列

OHAUS 桌上型 pH計 a-AB23PH系列

Milwaukee EC/電導度測試計(防水型IP65/可替換電極)

OHAUS 桌上型 pH計 a-AB41PH系列

EUTECH Lacombe Tester pH計(防水型)

Milwaukee 輕巧型 TDS測試計 CD系列

Milwaukee 輕巧型 EC(電導度)測試計 CD系列

Horiba 電導度標準液 500mL 100系列

Milwaukee pH測試計PRO(寬測量範圍/可替換電極)pH系列

Hanna pH計(edge/pH專用)HI2002-01

Hanna EC計(edge/EC專用)HI2003-01

Hanna DO計(edge/DO專用)HI2004-01

OHAUS 桌上型 電導度計 a-AB23EC系列

AS ONE pH電極

Milwaukee TDS測試計(防水型IP65/可替換電極)

Milwaukee 3in1 EC和TDS 測試計(防水型IP65/可替換電極)EC系列
![Horiba [攜帶式/手持pH計] 戶外型 攜帶式水質計 LAQUA D-200系列](https://www.tainan-hch.com.tw/includes/timthumb/timthumb.php?src=upload/cht/product/47/46016_img_1.jpg&w=540&h=450&zc=0)
Horiba [攜帶式/手持pH計] 戶外型 攜帶式水質計 LAQUA D-200系列

Milwaukee 4in1 pH&EC&TDS 測試計(防水型IP65/可替換電極)MW系列

DKK-TOA pH複合電極(Calmemo)

Testo K. K. pH塑膠電極 0650 2063

Testo K. K. pH塑膠電極 帶溫度電極 0650 2064

Testo K. K. pH計 Testo 205 0563 2051

Testo K. K. pH計 Testo 206-1 0563 2065

Testo K. K. pH計 Testo 206-2 0563 2066

Testo K. K. pH計 Testo 206-3(單主機)0563 2063

SATO pH計 投入式電極 640S-2

SATO 袖珍型 pH計 SK系列

Horiba Twin pH Meter II 選購配件

Vernier 無線 鈣離子電極(Go Direct)GDX-CA

Vernier 無線 氯離子電極(Go Direct)GDX-CL

Vernier 無線 鉀離子電極(Go Direct)GDX-K

Vernier 無線 硝酸根離子電極(Go Direct)GDX-NO3

Vernier 無線 銨離子電極(Go Direct)GDX-NH4

Vernier 無線 平面pH電極(Go Direct)GDX-FPH

Vernier 無線 玻璃電極 pH電極(Go Direct)GDX-GPH

Vernier 無線 白金電導度電極(Go Direct)GDX-CONPT

Vernier 無線 廣範圍氣壓電極(Go Direct)GDX-WRP

Vernier 無線 向心力系統(Go Direct)GDX-CFA

Vernier 無線 偏光計(Go Direct)GDX-POL

Vernier 無線 CV(循環伏安法)電極(Go Direct)GDX-CVS
![Horiba [攜帶式/手持pH/電導度計套組 ] 戶外型 式攜帶式水質計 LAQUA D-200系列](https://www.tainan-hch.com.tw/includes/timthumb/timthumb.php?src=upload/cht/product/47/46040_img_1.jpg&w=540&h=450&zc=0)
Horiba [攜帶式/手持pH/電導度計套組 ] 戶外型 式攜帶式水質計 LAQUA D-200系列

Yokogawa pH標準液 K9084系列

Yokogawa pH計比較電極 內部溶液
![Horiba [攜帶型/手持電導度計套組 ] 戶外型 攜帶式水質計 LAQUA D-200系列](https://www.tainan-hch.com.tw/includes/timthumb/timthumb.php?src=upload/cht/product/47/46043_img_1.jpg&w=540&h=450&zc=0)
Horiba [攜帶型/手持電導度計套組 ] 戶外型 攜帶式水質計 LAQUA D-200系列

Mettler-Toledo 攜帶式 電導度計

Hanna 攜帶型 多功能計

MMK Scientific 「01版」pH標準液/pH校正粉 3種×5包(15包)

Cµstom 防水型 pH計 pH系列

EUTECH Lacombe Tester 選配(標準液)pH4 20mL×5包 ECBU4BS

EUTECH Lacombe Tester 選配(標準液)pH4 480ml 瓶 ECBU4BT

EUTECH Lacombe Tester 選配(標準液)pH7 480ml 瓶裝 ECBU7BT

EUTECH Lacombe Tester 選配(標準液)pH10 1盒(10錠)ECBU10BX

EUTECH Lacombe Tester 選配(標準液)pH7 20mL×5包 ECBU7BS

EUTECH Lacombe Tester 選配(標準液)pH10 20ml×5包 ECBU10BS

EUTECH Lacombe Tester 選配(標準液)pH10 480ml 瓶裝 ECBU10BT

EUTECH Lacombe Tester 選配(標準液)pH7 1盒(10錠)ECBU7BX

EUTECH Lacombe Tester 選配(標準液)pH4片 1盒(10錠)ECBU4BX

EUTECH Lacombe Tester 標準液 ECBU系列

EUTECH Lacombe Tester 選配(標準液)pH4 1盒(10錠)ECBU4BX

Thermo Scientific 離子電極

SATO 攜帶型 pH計 SK-625PH系列

Horiba ORP標準液粉末 160系列

EUTECH Lacombe Tester 電導度標準液 ECCON系列

Cµstom 防水型 pH計 替換電極

Cµstom 防水型 ORP/pH計 替換電極

MMK Scientific 特別版 pH計 超高速高精準度 MK-016系列

Horiba (攜帶型/pH/電導度計主機)戶外型 攜帶型水質計 LAQUA D-200系列

Horiba (攜帶型/pH計主機)戶外型 攜帶型水質計 LAQUA D-200系列

Milwaukee pH/EC 測試計超值套組 Mi系列

EUTECH Eutech PH 1710 pH/mV EBPH系列

EUTECH Eutech EC 1720 EC/鹽度/TDS EBEC系列

Hanna GroLine 壁掛式 pH/EC/TDS/℃ 計 HI981420

Hanna GroLine pH測試計 HI98115

Hanna GroLine 土壤 pH測試計 HI981030

Hanna GroLine pH/℃測試計 HI98118

Hanna GroLine Combo HI98131

Hanna GroLine EC/℃測試計 HI98318

EUTECH Eutech DO 1730 溶氧度計 EBDX系列

Hanna 日用防水型 pH計 pHep系列

DKK-TOA pH複合電極(Calmemo)GST系列

Horiba 單色液晶 桌上型 pH計 pH-SE系列
![Horiba [pH/溶氧計] 戶外攜帶型水質計 LAQUA D-200系列](https://www.tainan-hch.com.tw/includes/timthumb/timthumb.php?src=upload/cht/product/47/46081_img_1.jpg&w=540&h=450&zc=0)
Horiba [pH/溶氧計] 戶外攜帶型水質計 LAQUA D-200系列

Yokogawa pH標準液 K9020系列

Horiba 桌上型 電導度計 選配電極(浸入式)

Cµstom 防水型 pH計 標準液

Horiba Twin COND 測試計 II(LAQUAtwin 防水型)514系列電導度標準液

ESCO pH計 EA776AM系列

Milwaukee pH/EC/TDS 測試計(pH55 PRO)2入超值套組 Mi系列

Horiba 桌上型 電導度計

Hanna HALO2 無線 pH測試計 土壤 HI 9810302

Hanna HALO2 無線 pH測試計 啤酒 HI 9810312

Hanna HALO2 無線 pH測試計 乳酪 HI 9810322

Hanna HALO2 無線 pH測試計 葡萄酒 HI 9810332

Hanna HALO2 無線 pH測試計 牛奶 HI 9810342

Hanna HALO2 無線 pH測試計 Sushi HI 9810352

Hanna HALO2 無線 pH測試計 肉品 HI 9810362

Hanna HALO2 無線 pH測試計 皮膚/頭皮 HI 9810372

Hanna HALO2 無線 pH測試計 麵包麵團 HI 9810382

Hanna HALO2 無線 pH測試計 巧克力 HI 9810392

Hanna HALO2 無線 pH測試計 Lab(KCL)HI 9810402

Hanna HALO2 無線 pH測試計 Lab(Gel)HI 9810412

Hanna HALO2 無線 pH測試計 高精度 戶外用(塑膠殼)HI 9810422

Hanna HALO2 無線 pH測試計 化妝品 HI 9810432

Hanna HALO2 無線 pH測試計 紙/皮革 HI 9810442

東興化學研究院 pH標準液

MMK Scientific 長管 pH計 862 VZ系列

Custom 防水型 pH計 PHB系列

Custom 防水型 pH計套組 型號05 PHB-1005PE

Custom 防水型 pH計套組 型號06 PHB-1006PE

Custom 防水型 pH計套組 型號07 PHB-1007PE

Custom 防水型 pH計套組 型號08 PHB-1008PE

Custom 防水型 pH計套組 型號09 PHB-1009PE

Custom 防水型 pH計套組 型號10 PHB-1010PE

Custom 防水型 pH計套組 型號11 PHB-1011PE

Custom 防水型 pH計套組 型號12 PHB-1012PE

Custom 防水型 pH計套組 型號13 PHB-1013PE

Custom 防水型 pH計套組 型號15 PHB-1015PE

Hanna 日用防水型 電導度計 DiST系列

Hanna Piccolo 替換電極 1pH~13pH

Hanna 酸度/pH計 -2pH~16pH

Mettler-Toledo 攜帶型 電導度計電極 InLab738系列

DKK-TOA 桌上型 pH計 電極(R系列)

DKK-TOA 桌上型 電導度計 CM系列

CEM 攜帶式 測試計 PC5

CEM 攜帶式 測試計 Ph5

CEM 攜帶式 測試計 pH5S

CEM 攜帶式 測試計 pH1

CEM 攜帶式 測試計 EC5

CEM 攜帶式 測試計 ORP5

ESCO pH計(筆型)EA776AM系列

DKK-TOA ORP複合電極(Calmemo)PST系列

Horiba (pH/溶氧計)戶外攜帶型水質計 單主機 LAQUA D-200系列

0 pH/mV測試計 S400系列

DKK-TOA 電導度 EC標準液

SATO pH標準液

SATO 筆型 pH計 SK系列

Horiba 0040N-10D ISFET pH電極

Hanna GroLine pH/EC 標準液

Cµstom 刀片相容 pH電極 pHS系列

Hanna 數位平板型pH計+電極 HI11311 通用型 HI 2002-01A

Hanna 數位平板型pH計+電極 HI12300 戶外型 HI 2002-01B

Hanna 數位平板型pH計+電極 HI12301 戶外型 HI 2002-01C

Hanna 數位平板型pH計+電極 HI10430 強酸/強鹼 HI 2002-01D

Hanna 數位平板型pH計+電極 HI10530 半固態低電導度 HI 2002-01E

Hanna 數位平板型pH計+電極 FC2020 半固體食品 HI 2002-01F

Hanna 數位平板型pH計+電極 FC2100 半固體食品 HI 2002-01G

Hanna 數位平板型pH計+電極 FC2320 肉品 HI 2002-01H

Hanna 數位平板型pH計+電極 HI10480 葡萄酒 HI 2002-01W

Hanna 數位平板型pH計+電極 HI14140 皮膚 HI 2002-01J

Horiba 免填充 pH電極 9652系列

Isfet 防水輕巧型 pH計 S2K系列

CEM 手持式測試計 PS-02-PH系列

Hanna 防水型測試計 Combo系列

Cµstom 防水型 電導度計 CD-6021系列

Hanna pH標準液(原液型)附證書

Hanna pH標準液(標準型)

Horiba 流通型電極(0.1µs/cm~100mS/cm)3561-10D

Horiba 浸入型電極(1µs/m~100mS/m)3552-10D

Horiba 流通型電極(1µs/cm~100mS/cm)3562-10D

Horiba 流通型電極(10µs/cm~100mS/cm)3574-10C

Horiba 流通型電極(10µs/cm~1S/cm)3573-10C

Horiba pH計 比較電極 標準型2060A-10T

Horiba pH計 比較電極 雙接液類型 2565A-10T

Horiba 鹽份標準液 14mL×6瓶 514系列

Hanna EC標準液(標準型)

Hanna EC標準液(高精度型)附證書

Mettler-Toledo pH標準液 250mL
![ESCO 電極[適用EA776AL-3] EA776AL系列](https://www.tainan-hch.com.tw/includes/timthumb/timthumb.php?src=upload/cht/product/47/46167_img_1.jpg&w=540&h=450&zc=0)
ESCO 電極[適用EA776AL-3] EA776AL系列

DKK-TOA P系列選購配件、連接連接線等。

Hanna 低電導度水 pH/℃計 HI99192D

Hanna 肉類 pH/℃計 HI99163D

Hanna 皮膚/頭皮 pH/℃計 HI99181D

Hanna 紙張/皮革 pH/℃計 HI99171D

Hanna 攜帶式 pH/℃計 HI991001D

Hanna 電鍍槽 pH/℃計 HI99131D

Hanna 鍋爐/冷卻水塔 pH/℃計 HI99141D

Horiba 防水型 溶氧電極

Hanna 電導度計(日用防水型)

Hanna 攜帶型餘氯/pH計(遊離氯/總氯(低濃度)/pH)HI97710系列

笠原理化工業 pH/ORP計電極

DKK-TOA 標準液粉末 143F系列

Horiba 鈉離子標準液 Y022系列

CEM 面板式 pH/ORP 無紙記錄器 RE-8系列

Hanna 電極保存液 HI70300系列

Horiba 硝酸根離子標準液

Horiba 鉀離子標準液 Y031系列

Hanna 電極洗淨液

Hanna 電極洗淨液(去除肉類中油脂(酸性))HI700630P

Hanna 電極洗淨液(去除葡萄酒沉積物)HI700635P

Hanna 電極洗淨液(去除酒漬)HI700636P

Hanna 電極洗淨液(去除牛奶沉積物)HI700640P

Hanna 電極清潔消毒液(去除消毒乳製品沉積物)HI700641P

Hanna 電極洗淨液(去除乳酪沉積物)HI700642P

Hanna 電極洗淨液(通用型)HI700661P

Hanna 電極洗淨液(去除無機污垢沉積物)HI700663P

Hanna 電極洗淨液(去除腐植質沉積物)HI700664P

Hanna 電極洗淨液(去除鹽分沉積)HI700670P

Hanna 電極洗淨液(通用型)HI7061L

Hanna 電極洗淨液(通用型)HI7061M

Hanna 電極洗淨液(去除皮膚上油脂和皮脂)HI70621L

Hanna 電極洗淨液(去除肉類中油脂(酸性))HI70630L

Hanna 電極洗淨液(去除肉類中油脂(鹼性))HI70631L

Hanna 電極清洗消毒液(去除血漬和消毒)HI70632L

Hanna 電極洗淨液(去除酒垢)HI70635L

Hanna 電極洗淨液(去除酒漬)HI70636L

Hanna 電極洗淨液(去除牛奶沉積物)HI70640L

Hanna 電極清洗消毒液(去除消毒乳製品沉積物)HI70641L

Hanna 電極洗淨液(去除乳酪沉積物)HI70642L

Hanna 電極洗淨液(去除無機污垢沉積物)HI70663L

Hanna 電極洗淨液(去除腐殖質沉積物)HI70664L

Hanna 電極洗淨液(去除鹽分沉積)HI70670L

Hanna 電極清洗消毒液(去除消毒藻類/真菌/細菌)HI70671L

Hanna 電極洗淨液(去除蛋白質)HI7073L

Hanna 電極洗淨液(去除蛋白質)HI7073M

Hanna 電極洗淨液(去除無機物)HI7074L

Hanna 電極洗淨液(去除無機物)HI7074M

Hanna 電極洗淨液(去除油脂)HI7077L

Hanna 電極洗淨液(去除油脂)HI7077M

Hanna 攜帶型 pH/ORP/℃測試計 HI8424N

Hanna 攜帶型 pH/ORP/℃測試計 HI991003D

Horiba 鈣離子標準液 Y051系列

Hanna ORP標準液(25℃)

DKK-TOA 電極配件 0IB系列

Hanna 攜帶型 EC/TDS 測試計 HI9930系列

Testo K. K. Testo 206-1/2 備用電極

ELEPON E.C.A.P. 數位 pH計 EPM-96系列

TRµsCO 輕巧型 pH計 TPH-6011系列

SATO 土壤 pH計 SK系列

0 連續 pH計 MC系列

Horiba 桌上型 pH/水質分析儀 F-74系列

Horiba 桌上型 pH/水質分析儀 F-73系列

ICHINEN 輕巧型 pH計 TA412系列

笠原理化工業 電導度計 EC-5Z系列

Hanna pH標準液套組

Horiba LAQUA WQ-300系列 電導度電極 300-C系列

Horiba LAQUA WQ-300系列 pH電極 300-P系列

Horiba 攜帶型水質測試計 電導度計 主機

Hanna pH標準液

Hanna 攜帶型 pH/ORP/℃測試計 HI系列

Horiba 桌上型 電導度計 F-2000C系列

Greisinger 輕巧型 電導度計 ECO系列

Hanna pH標準液 EA776AZ系列

Milwaukee EC(電導度)標準液20mL×25袋

Milwaukee TDS標準液 20mL×25袋

Milwaukee pH標準液 20mL×25袋

Milwaukee pH標準液 230mL瓶裝 MA系列

Mettler-Toledo pH計 FiceEasy PLUS FP20

Mettler-Toledo 電導度計 FiceEasy Plµs FP30

0 電導度計 S700系列

Horiba 桌上型 pH/水質分析儀 F-72系列

Milwaukee EC(電導度)標準液 230mL 瓶裝 MA系列

Mettler-Toledo pH計 SevenExcellence S400

Mettler-Toledo pH/離子測試計 SevenExcellence S500 測試計

Mettler-Toledo 溶氧度計 SevenExcellence 標準套組

Hanna 通用型 ORP複合電極(BNC介面)

Hanna 通用型 pH複合電極(BNC介面)

Mettler-Toledo pH計 FiveGo F2

Mettler-Toledo 電導度計 FiveGo

Mettler-Toledo 溶氧度計 FiveGo F4

DKK-TOA 攜帶型 pH計 JQA認證 Mylana MM系列

ESCO 酸性鹽 pH標準液 EA776AL系列

Hanna TDS標準液(標準型)

富士化學計測 pH標準液粉末 1包(12袋)pH系列

Mettler-Toledo pH/電導度計 SevenDirect

Hanna pH電極電解液(內部溶液)

Hanna EC標準液套組

Hanna pH/EC標準液 HI77100系列

Hanna ORP電極(適用HI98140N/HI98150N/HI98160N)

Hanna 氯化鈉標準液

Hanna Hanna 配件

Hanna Hanna 配件(HI99161N、HI991300N 等)

Mettler-Toledo PH/離子計 SevenDirect

Mettler-Toledo pH計 SevenDirect

Mettler-Toledo 電導度計 SevenDirect

Horiba 單離子電極

Hanna 電極洗淨液(pH計)

Mothertool PH-201標準液

Cµstom 防水型電導度計 電極標準液

Hanna ORP前處理液

Hanna Edge 配件

FUSO pH-212選配 PE系列

A&D 附JCSS證書 標準液 AX-APA-01

Isfet 防水輕巧型 pH計 S2K系列 附校正證書

Horiba 工業 pH電極(半球形 pH電極)#6108系列

OHAUS DO電極 STDO系列

OHAUS pH電極 pH ST系列

Yokogawa PH92 以 KCl 填充型(0.75m連接線)

Yokogawa 攜帶式 電導度計 電極 SC92SN系列

Milwaukee C/T系列 替換電極 MA系列

Horiba LAQUA 印表機選配

DKK-TOA pH電極 JQA認證 GST系列

OHAUS 電極支架 AB系列

日伸理化 pH控制器 複合電極 CE-108C B型端子付

日伸理化 pH控制器 pH電極 /玻璃複合電極 CE-105CpH

日伸理化 pH控制器 pH電極 /pH玻璃複合電極 CE-103CS

日伸理化 pH控制器 溫度補償電極 NT-20

日伸理化 pH控制器 高溫pH複合電極 FX-300H

日伸理化 pH控制器 高溫pH複合電極 FX-400H

日伸理化 pH控制器 高溫pH複合電極導線 FX專用導線

日伸理化 pH控制器 溫度補償pH複合電極 PCE-101C

日伸理化 pH控制器 Calipack電極

OHAUS 電導度電極 STCON系列

OHAUS ORP電極 STORP系列

EUTECH EUTECH 1700系列 選配品 EB1700系列

Cµstom 校正標準液 EA776BC系列

Mothertool pH標準液 PH系列

DKK-TOA ORP複合電極(Calmemo)通用/浸入式 PST2729C-1系列

OHAUS 筆型電極

EUTECH Lacombe Tester 電導度計(防水型)替換電極 ECTDSSENSOR系列

ELEPON E.C.A.P. 浸入式複合電極支架 PK系列

CEM 手持式測試計 替換電極 DO-02系列

笠原理化工業 pH標準液

CEM 攜帶型測試計 替換電極

CEM 手持式pH計 替換電極 PS-02系列

笠原理化工業 pH/ORP/氟離子電極 填充液(KCl:3.3mol)

OHAUS 電導度標準液 250ml

OHAUS 標準液 250ml

Thermo Scientific pH4.01 標準液(紅色)

Thermo Scientific pH7.00 標準液(黃色)

笠原理化工業 pH/ORP電極 PHD系列

Thermo Scientific pH10.01標準液(藍色)

FUSO 7200系列 選配品

FUSO pH-222 選配品

Thermo Scientific 氯化鉀(5入)